技术论坛

 如何做非线性变换的数值处理?

返回主题列表
作者 主题
yming
至圣

经验值:138940
发帖数:23259
精华帖:881
楼主    2020-09-06 10:25:37
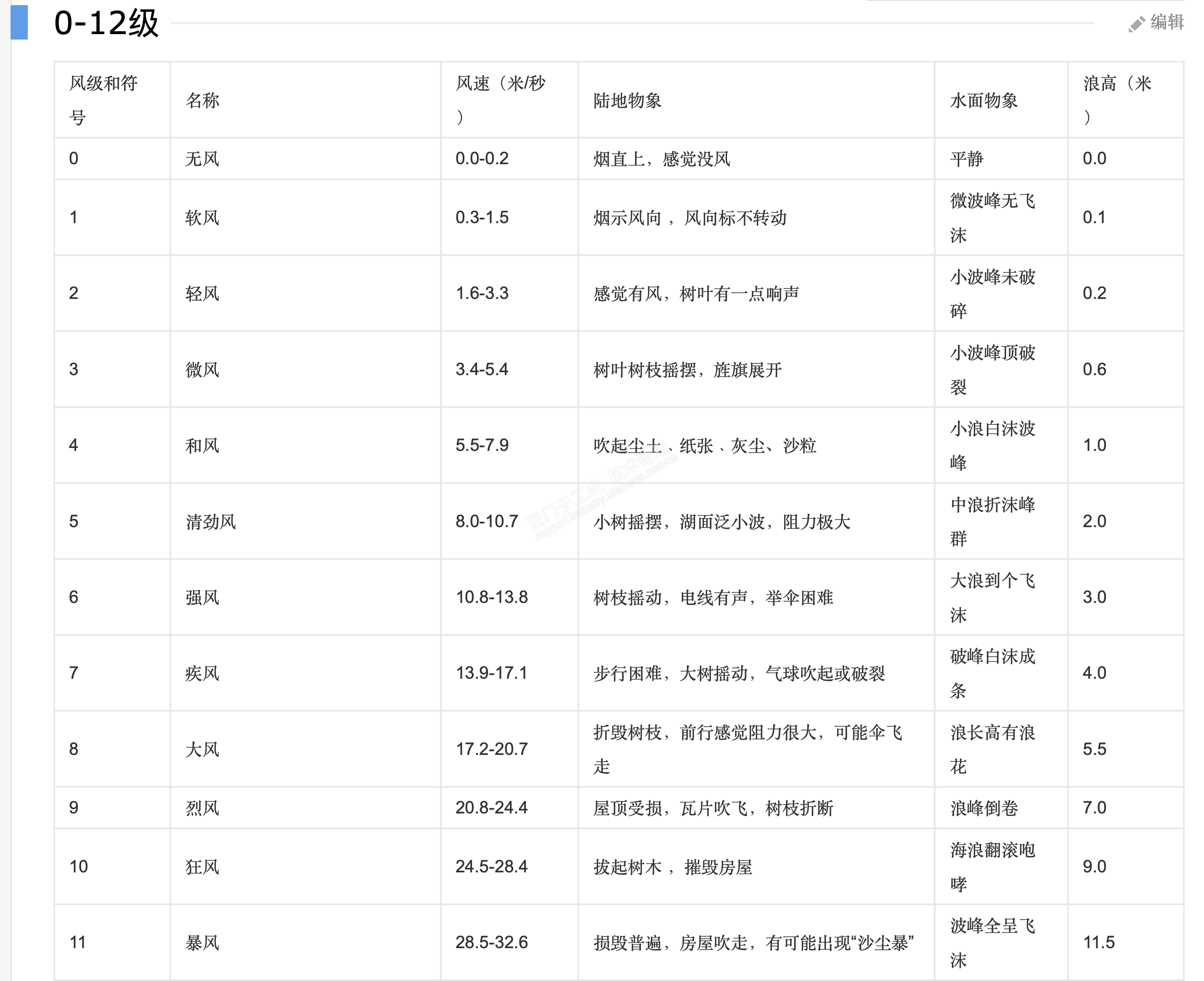
主题:如何做非线性变换的数值处理?

我遇到一个非线性数值变换的问题。

采用风速传感器(0-10V)接 LOGO!0BA8的模拟量。

模拟量信号 0-10V 代表实际风速 0-30M/s。

如果要显示风力(风压),两者之间是非线性的。


如何显示0-11级风的实际值呢?




谢谢各位!

-------

我现在用最简单的方式显示。

就是使用柱状图,也能看个大概其风级区间。



学而时习之,不亦说乎?温故而知新,不亦乐乎?
您收到0封站内信:
×
×
信息提示
很抱歉!您所访问的页面不存在,或网址发生了变化,请稍后再试。