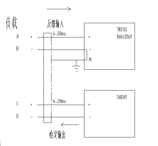
大家好,我想问一下现场有个执行器,共传给300PLC 四根线,一组反馈,一组给定,都是4-20ma,接线如图所示

但是我一接上去反馈信号正常,反馈电流正常,PLC采集也正常,但当我把给定C+,D-接上模拟量输出通道后,反馈输入在PLC上采集直接32767,溢出,拔下给定那两根线就又恢复正常,经过现场测试得到信号A+,对地30VAC,B+对地也有30VAC,C+,D-对地也有30VAC,这种情况为什么反馈接上模块正常,接入给定就会影响反馈这个通道而不影响其他通道呢。。。我很怀疑是前端负载上是不是有个变压器的交流,直流共地了,?理论上这个4-20ma信号上不该有那么大的交流电压,大家分析一下呢