简单实现办法有没有?

已锁定

everyone

  • 帖子

    368
  • 精华

    2
  • 被关注

    33

论坛等级:奇侠

注册时间:2009-05-21

普通 普通 如何晋级?

简单实现办法有没有?

1717

15

2014-09-26 17:04:02

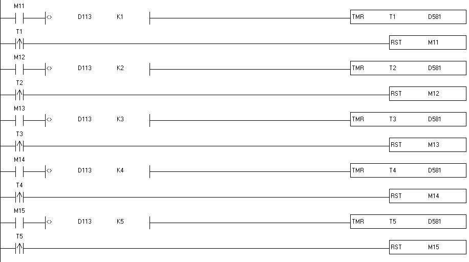
有下面的工况:
在某个设备(姑且称之为A)监测范围内存在N个信号,A有能力识别到这N个信号。控制器(PLC)与A串口通讯,接收到某个寄存器中是1就表示1#信号存在;是2就表示2#信号存在;是3就表示……这样就可以判断监测范围内存在有哪些信号,问题是PLC怎样判断监测范围内已有的信号真正离开了检测范围?
目前想到的办法是PLC只要检测到某个信号就马上置位一个M位,表明此信号已经出现在监测范围内(这个逻辑要求已经写了出来,没有问题)。
置位M位后马上启动一个时间继电器,启动条件中间串联一个此信号消失的节点(某寄存器不等于N的节点),时间到后复位M。即就是在一个时间段内通讯一直没有接收到某信号数据就认为这个信号已经离开了此检测区域。
这样的处理办法,如果需要检测的信号是海量的话,逻辑要写太多程序段,岂不是PLC无法完成这样的任务了?大家有什么好的处理办法?有没有简单指令能实现以上要求?
以下是我以5个信号为例子用非200PLC写的逻辑(供参考理解要求)。


简单实现办法有没有? 已锁定
编辑推荐: 关闭

请填写推广理由:

本版热门话题

SIMATIC S7-200

共有33307条技术帖

相关推荐

热门标签

相关帖子推荐

guzhang

恭喜,你发布的帖子

评为精华帖!

快扫描右侧二维码晒一晒吧!

再发帖或跟帖交流2条,就能晋升VIP啦!开启更多专属权限!

  • 分享

  • 只看
    楼主

top
X 图片
您收到0封站内信:
×
×
信息提示
很抱歉!您所访问的页面不存在,或网址发生了变化,请稍后再试。