举个MM440变频器控制电动机实现3速段运转例子

需要接入变频器的控制电路
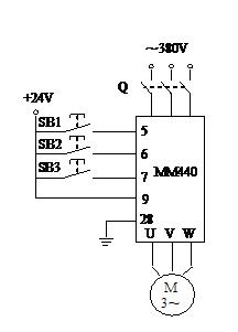
上图为MM440变频器控制接线
图。控制电路中“5”、“6“
和“7”输入端与带锁按钮SB1、
SB2、和SB3的一端相连;“9”
端提供了一个24V电源,与带锁
按钮SB1、SB2和SB3的一端相连。
通过按钮操作来实现电动机的3
速段控制。
参数设定:
P0003=1 设用户访问级为标准级
P0004=7 命令和数字I/O
P0700=2 命令源选择“由端子排输入”
P0003=2 设用户访问级为扩展级
P0004=7 命令和数字I/O
P0701=17 选择固定频率
P0702=17 选择固定频率
P0703=1 ON接通正转,OFF停止
P0003=1 设用户访问级为标准级
P0004=10 设定值通道和斜坡函数发生器
P1000=3 选择固定频率设定值
P0003=2 设用户访问级为扩展级
P0004=10 设定值通道和斜坡函数发生器
P1001=10 设置固定频率1(Hz)
P1002=25 设置固定频率2(Hz)
P1003=50 设置固定频率3(Hz)
操作过程:
当按下带锁按钮 SB3时,数字输人端口“7”为“ON”,允许电动机运行。
1)第1频段控制。当SB1按钮开关接通、SB2按钮开关断开时,变频器数字输入端口“5”为“ON”,端口“6”为“OFF”,变频器工作在由 P1001参数所设定的频率为10Hz的第l段上,电动机运行在由10Hz所对应的转速n1上。
2)第2频段控制。当SB1按钮开关断开,SB2按钮开关接通时,变频器数字输入端口“5”为“OFF”,端口“6”为“ON”,变频器工作在由P1002参数所设定的频率为25Hz的第2频段上,电动机运行在由25Hz所对应的转速n2上。
3)第3频段控制。当SB1按钮开关接通、SB2按钮开关接通时,变频器数字输入端口“5”为“ON”,端口“6”为“ON”,变频器工作在由P1003参数所设定的频率为50Hz的第3频段上,电动机运行在由50Hz所对应的转速n3上。
4)电动机停车。当SB1、SB2按钮开关都断开时,变频器数字输入端口“5”、“6”均为“OFF”,电动机停上运行。或在电动机正常运行的任何频段,将SB3断开使数字输入端口“7”为“OFF”,电动机也能停止运行。