展开查看
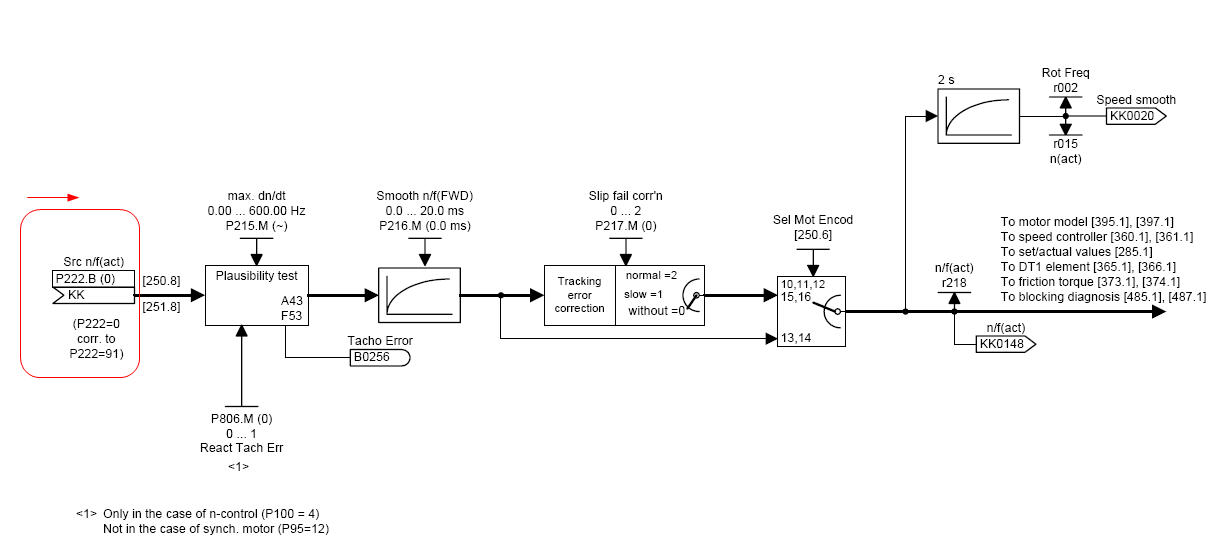
以下是引用aa13123在2015-07-14 06:41:58的发言 >6楼:K0091 = n/f(actMeas) actual measured rotational speed
P42.1 = 91 = Wire speed actual value KK0091 to frequency display r43.1
P042.2 = K0091 = Free visualization parameter interconnected to connector n/f(meas)


第一,能不能别用英文描述,改用自己的语言(母语:中文)来表述 k91 的物理意义?
第二,既然把功能图贴出来了,那就希望你可不可以把第二张图的工作原理简述一下呢?这张图他的工作过程?以及信号的传输过程?
关注中...