回复:三相380电机改单相220后的事情

看雪001

  • 帖子

    2433
  • 精华

    87
  • 被关注

    236

论坛等级:至圣

注册时间:2012-04-25

钻石 钻石 如何晋级?

发布于 2016-06-29 15:40:52

21楼

1,变频器有单相220v进,三相380v输出的?

我想,连杂牌都没有这样的。

2,单相电机的电容,它只是在启动时帮助一下,转速起来了就可以脱开,电容大小能决定输出功率吗?

我想,主要是主绕组阻抗过大。

3,我想……我还是想出来了一个办法:

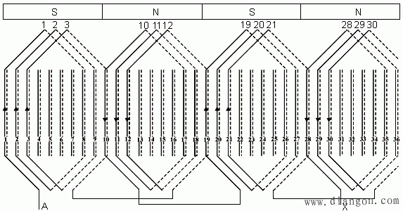
拆开电机端盖,对电机绕组做一个处理。小型电机绕组都是Y型接法,每相绕组额定电压都是220v的,找到Y点,拆开接头,将两相绕组并联做主绕组,另外一相绕组作为起动绕组,这样处理之后,它就是一台单相电动机,出力至少是大于原来的1/2。

 

(附一张绕组展开图,A、Z、B、X、C、Y,如何转C1-C2?)

大道至简,知易行难
评论
编辑推荐: 关闭

请填写推广理由:

本版热门话题

电机

共有3156条技术帖

相关推荐

热门标签

相关帖子推荐

guzhang

恭喜,你发布的帖子

评为精华帖!

快扫描右侧二维码晒一晒吧!

再发帖或跟帖交流2条,就能晋升VIP啦!开启更多专属权限!

  • 分享

  • 只看
    楼主

top
X 图片
您收到0封站内信:
×
×
信息提示
很抱歉!您所访问的页面不存在,或网址发生了变化,请稍后再试。