回复:关于G120自由功能块的使用

kdrjl

版主 西门子1847工业学习平台

  • 帖子

    36674
  • 精华

    451
  • 被关注

    1447

论坛等级:至圣

注册时间:2003-06-06

钻石 钻石 如何晋级?

发布于 2016-08-07 20:44:39

2楼

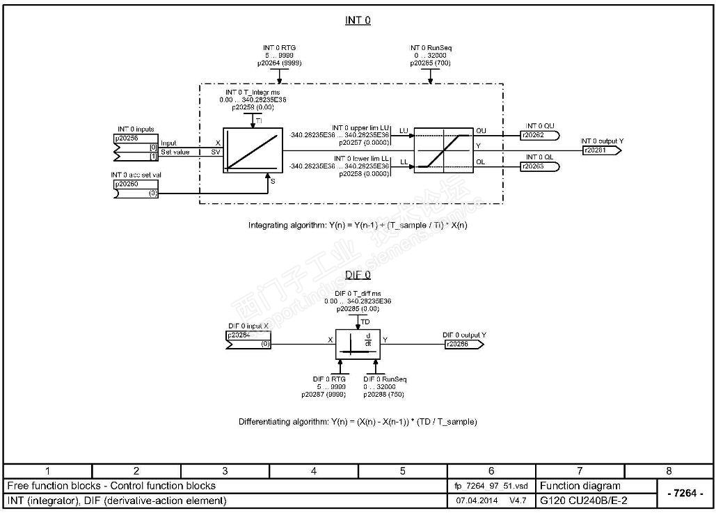
再说积分器块。在G120的CU控制器里,自由功能块有一个积分器。这就可以用用户自行设计一个外闭环控制了。

这个积分器输出还带一个限幅器,所以配置一个加法器或减法器,加特性曲线,加积分器,再加一个加法器,就能组成一个带微调功能的PI调节器了。而且是一个很灵活的,任意BiCo的闭环调节器。


为什么说是任意BiCo的呢?因为G120的CU自身带一个PID调节器(尽管这个PID调节器功能特别全),但它规定了控制器输出的连接就是两个固定的地方(只能放在转速的设定通道上),所以用起来就受到限制了。如果用户想做一个扭矩的闭环直接作用在扭矩设定通道上呢?就得用自由功能块自己搭一个了。


用自由功能块自己搭的PI调节器,也是很好用的。

我是你的朋友
评论
编辑推荐: 关闭

请填写推广理由:

本版热门话题

电机

共有3149条技术帖

相关推荐

热门标签

相关帖子推荐

guzhang

恭喜,你发布的帖子

评为精华帖!

快扫描右侧二维码晒一晒吧!

再发帖或跟帖交流2条,就能晋升VIP啦!开启更多专属权限!

  • 分享

  • 只看
    楼主

top
您收到0封站内信:
×
×
信息提示
很抱歉!您所访问的页面不存在,或网址发生了变化,请稍后再试。