这种 表 选择 两线电流 还是 四线电流 啊??

已锁定

正规军

  • 帖子

    176
  • 精华

    0
  • 被关注

    17

论坛等级:侠客

注册时间:2004-03-01

黄金 黄金 如何晋级?

这种 表 选择 两线电流 还是 四线电流 啊??

646

10

2016-08-30 11:59:33

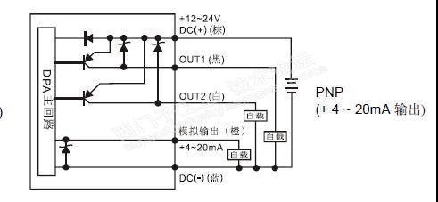
如图表  接 西门子 模拟量 输入模块  

应该选择 两线还是四线啊??


另外 方块形的量程卡 超 哪个方向是 选择 4-20ma 模拟量输入啊??

这种 表 选择 两线电流 还是 四线电流 啊?? 已锁定
编辑推荐: 关闭

请填写推广理由:

本版热门话题

SIMATIC S7-300/400

共有54776条技术帖

相关推荐

热门标签

相关帖子推荐

guzhang

恭喜,你发布的帖子

评为精华帖!

快扫描右侧二维码晒一晒吧!

再发帖或跟帖交流2条,就能晋升VIP啦!开启更多专属权限!

  • 分享

  • 只看
    楼主

top
X 图片
您收到0封站内信:
×
×
信息提示
很抱歉!您所访问的页面不存在,或网址发生了变化,请稍后再试。