求解,S120 装机装柜型变频器里面CIB每一个插口的用途。

已锁定

古ben

  • 帖子

    429
  • 精华

    3
  • 被关注

    28

论坛等级:奇侠

注册时间:2015-08-05

普通 普通 如何晋级?

求解,S120 装机装柜型变频器里面CIB每一个插口的用途。

1737

5

2020-01-19 14:49:56


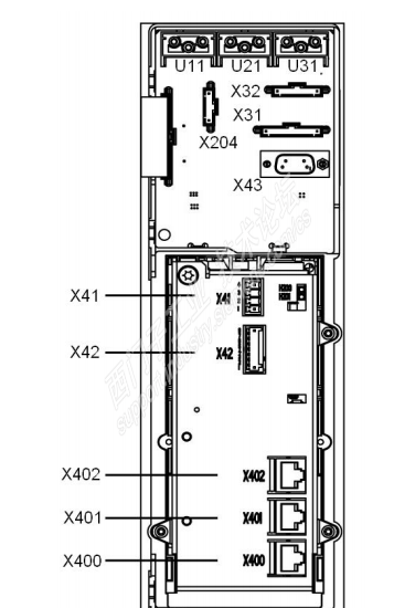
如图,求解CIB板,每一个接线端口的用途,

X9 : 

X271:

X272:

X278:

X60:

X32:

X31:

X204  :

......

求解,S120 装机装柜型变频器里面CIB每一个插口的用途。 已锁定
编辑推荐: 关闭

请填写推广理由:

本版热门话题

SINAMICS

共有8164条技术帖

相关推荐

热门标签

相关帖子推荐

guzhang

恭喜,你发布的帖子

评为精华帖!

快扫描右侧二维码晒一晒吧!

再发帖或跟帖交流2条,就能晋升VIP啦!开启更多专属权限!

  • 分享

  • 只看
    楼主

top
X 图片
您收到0封站内信:
×
×
信息提示
很抱歉!您所访问的页面不存在,或网址发生了变化,请稍后再试。