公司一台龙门铣刀具拆卸总是不流畅,由于该设备在保修期内,故联系厂家进行维修,厂家到达现场后,测量打刀量不够,如图所示,打刀量由15油缸行程及连杆底部垫片厚度确定。
由于前期使用正常,最近才出现故障,厂家人员决定从油缸拆起,油缸拆除后测量油缸行程,发现行程变小,厂家确定为油缸卡死,拆卸油缸发现油缸活塞研伤,维修过后重新安装,测量行程一切正常,重新安装发现故障依旧。
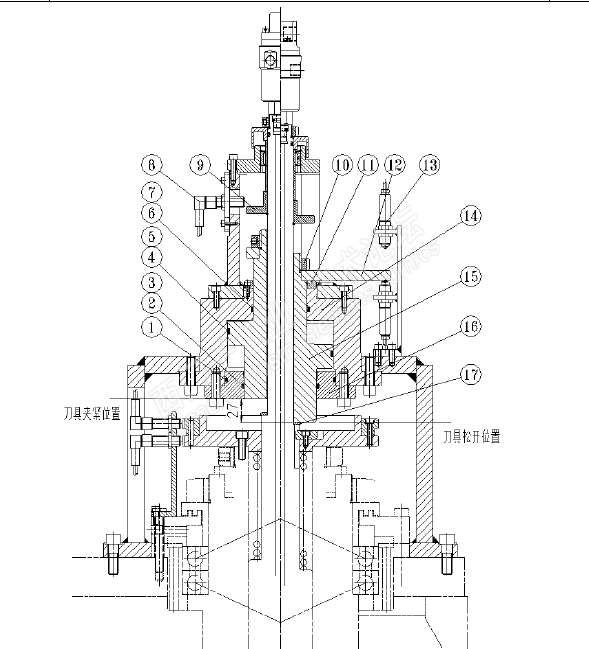
查看图纸,根据图纸情况研究只能将主轴拆除检查内部垫片。下图为主轴图纸。

将主轴拆除后发现主轴轴承已严重缺油,打刀垫片脱出,找到故障原因,拆除上部油缸时碟簧处于压缩状态,将上部油缸拆除将垫片弹飞。再次安装时垫片未就位,导致故障依旧。如图
发现主轴缺油,索性就给主轴来个大修,该清理清理,该上油上油,本来认为很小的一个活,忙忙活活的干了两天。