回复:请教RA70的测速编码器选择

kdrjl

版主 西门子1847工业学习平台

  • 帖子

    37121
  • 精华

    455
  • 被关注

    1479

论坛等级:至圣

注册时间:2003-06-06

钻石 钻石 如何晋级?

发布于 2006-10-04 22:55:21

0楼

quote:以下是引用露天舞台在2006-01-01 20:32:29的发言:
k兄,6RA70手册里我怎么看到的是只支持双极信号呢,单逻辑极性信号好像并不支持,难道你我手册相悖?

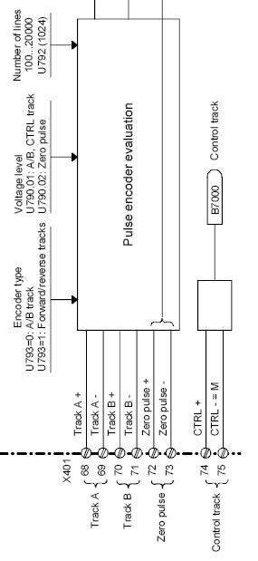
不是的。请看下边的对比,就清楚了。
图1----主板上的编码器端子,是单极性的

图2----附加的编码器端子,是双极性的
我是你的朋友
评论
编辑推荐: 关闭

请填写推广理由:

本版热门话题

电机

共有3177条技术帖

相关推荐

热门标签

相关帖子推荐

guzhang

恭喜,你发布的帖子

评为精华帖!

快扫描右侧二维码晒一晒吧!

再发帖或跟帖交流2条,就能晋升VIP啦!开启更多专属权限!

  • 分享

  • 只看
    楼主

top
X 图片
您收到0封站内信:
×
×
信息提示
很抱歉!您所访问的页面不存在,或网址发生了变化,请稍后再试。