回复:双整如何变整?

youhm

  • 帖子

    4924
  • 精华

    81
  • 被关注

    51

论坛等级:至圣

注册时间:2008-06-28

普通 普通 如何晋级?

发布于 2012-01-09 10:18:43

17楼

quote:以下是引用KAPOK在2012-01-09 10:06:14的发言:
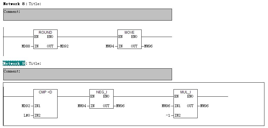
针对楼主提出的这一问题,今天专门抽空进行了仿真。在-32768.0~+32767.0之间时,当浮点数是正值的时候,转换成双整形后直接取低字是没有问题的;但是当浮点数是负值的时候,直接去低字是有问题的,为此,本着负责的目的,特给出程序及仿真结果供楼主参考:
程序:


-32768.0时的仿真结果:


+32767.0时的仿真结果:


希望对楼主有所帮助!

问题在哪儿呢?
评论
编辑推荐: 关闭

请填写推广理由:

本版热门话题

SIMATIC S7-300/400

共有54789条技术帖

相关推荐

热门标签

相关帖子推荐

guzhang

恭喜,你发布的帖子

评为精华帖!

快扫描右侧二维码晒一晒吧!

再发帖或跟帖交流2条,就能晋升VIP啦!开启更多专属权限!

  • 分享

  • 只看
    楼主

top
X 图片
您收到0封站内信:
×
×
信息提示
很抱歉!您所访问的页面不存在,或网址发生了变化,请稍后再试。