回复:电机转动惯量的计算

kdrjl

版主 西门子1847工业学习平台

  • 帖子

    37120
  • 精华

    455
  • 被关注

    1479

论坛等级:至圣

注册时间:2003-06-06

钻石 钻石 如何晋级?

发布于 2012-03-27 19:30:11

11楼

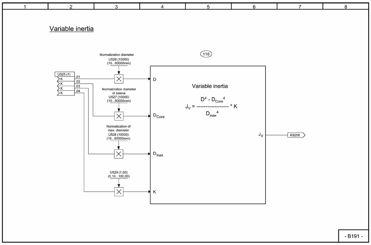
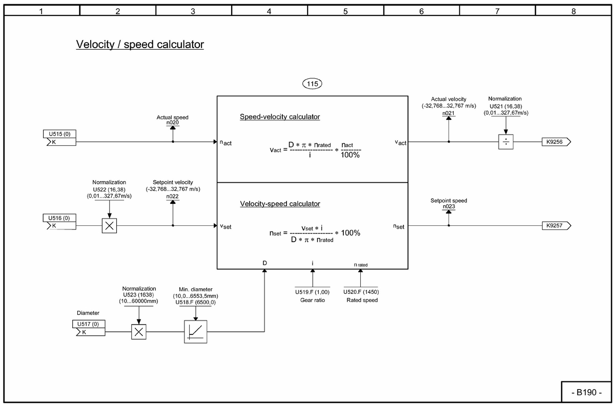
哦?是卷径变化的惯性补偿呀?那就看看自由功能块里的卷径自动计算补偿和线速度计算的块。我以为你是针对电机轴系的转动惯量做动态补偿呢。






我是你的朋友
评论
编辑推荐: 关闭

请填写推广理由:

本版热门话题

电机

共有3177条技术帖

相关推荐

热门标签

相关帖子推荐

guzhang

恭喜,你发布的帖子

评为精华帖!

快扫描右侧二维码晒一晒吧!

再发帖或跟帖交流2条,就能晋升VIP啦!开启更多专属权限!

  • 分享

  • 只看
    楼主

top
X 图片
您收到0封站内信:
×
×
信息提示
很抱歉!您所访问的页面不存在,或网址发生了变化,请稍后再试。